자료좀 부탁드립니다.
tomatomac
토마토맥 since 1998.6
비도오고 그래서 니 생각이 나서~
날씨가 많이 더워졌네요. 시원한 아아 한잔^^
MENU
자료좀 부탁드립니다.
석두
일반
0
3,867
2008.09.23 07:03
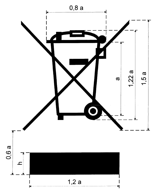
일러 파일이 아닙니다.
Comments
로그인한 회원만 댓글 등록이 가능합니다.
이전
다음
목록
Banner
커뮤니티
자유게시판
지역게시판
이미지
모임후기
분실물센터
중고장터
수다방
포인트랭킹 순위
스터디
질문과답
강좌
칼럼
툴앤팁
디자인의뢰
제작의뢰
매거진
토맥매거진
오픈매거진
갤러리
회원작품
추천작품
소스
폰트소스
이미지소스
로고소스
플러그인소스
이미지프리
잡
제작/의뢰
구직
구인
디자인맵
현재 접속자
94 명
오늘 방문자
2,764 명
어제 방문자
3,529 명
최대 방문자
102,280 명
전체 방문자
14,793,574 명
전체 게시물
55,648 개
전체 댓글수
256,652 개
전체 회원수
180,030 명